Menu

A New Leaf

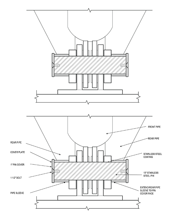
A new steel span near the Mile High City is elevating pedestrian bridge design. Click through this impressive collection of drawings, construction photos, and more. To read all about the project, see “A New Leaf” in the October 2019 issue.

See more Project Extras